
2025 서울시 청년 부동산 중개보수·이사비 지원사업 신청 총정리
서울시 청년 이사비 지원
서울시는 주거 환경이 불안정하고 이사 빈도가 높은 청년들의 경제적 부담을 줄이기 위해
‘청년 부동산 중개보수 및 이사비 지원사업’을 매년 운영하고 있습니다.
2025년 하반기에도 총 4,000명의 청년을 대상으로 지원이 진행되며,
상반기 6,000명을 포함해 올해 총 1만 명이 혜택을 받을 예정입니다.
신청 대상, 지원 금액, 자격 조건, 신청 방법 등 모든 내용을 최신 기준으로 정리했습니다.
이사하는 청년이라면 이사비 40만원 받으세요


청년 이사 중개비 지원
- 신청 기간과 방법
신청 기간: 2025년 8월 25일(일) 오후 6시까지
신청 방법: ‘청년 몽땅 정보통’ 홈페이지에서 온라인 신청 가능
문의처: 청년 부동산 중개보수 및 이사비 지원 콜센터 (☎ 1877-9358)
신청은 전 과정이 온라인으로 진행되며,
마감일 오후 6시 이후에는 접수가 불가하니 반드시 기한을 지켜야 합니다.
신청기간이 짧아서 해당되시는 분들 빨리 신청하시길 바랍니다

- 지원 대상
이번 사업은 다음 조건을 모두 충족하는 청년에게 지원됩니다.

(1) 연령 조건
2025년 기준 만 19세 ~ 39세
출생일 기준: 1985년 1월 1일 ~ 2006년 12월 31일
(2) 주거 요건
2023년 1월 1일 이후 서울시로 전입했거나, 서울시 내에서 이사한 뒤 전입신고를 완료한 경우
주민등록등본상 세대주여야 하며, 임대차계약서의 임차인 역시 본인이어야 함
동거인(부모, 배우자, 형제·자매 등)이 있어도 조건 충족 시 신청 가능
거래금액 2억 원 이하의 전·월세 주택 거주
거래금액 계산식: 임차보증금 + (월세액 × 100)
예시①: 전세보증금 2억 원 → 거래금액 = 2억 원 (신청 가능)
예시②: 월세보증금 1억 원, 월세 70만 원 → 거래금액 = 1억 7천만 원 (신청 가능)
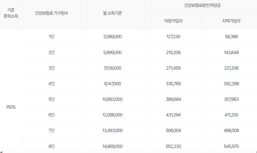
(3) 소득 요건
가구당 기준 중위소득 150% 이하
2025년 7월 건강보험료 고지 금액 기준
1인 가구: 세전 월소득 약 3,589,000원 이하
건강보험 피부양자의 경우 부양자의 고지 금액 기준으로 판단

(4) 재산 요건
신청자 본인이 무주택자여야 함
- 지원 내용 및 금액
지원금액: 최대 40만 원 실비 지원 (생애 1회 한정)
지원 항목: 부동산 중개보수, 이사비
중개보수와 이사비를 각각 별도로 신청 가능
예를 들어, 이사비만 신청하거나 중개보수만 신청하는 것도 가능
- 우선 지원 대상
신청자가 지원 인원을 초과할 경우, 다음 순서로 우선 선발합니다.
사회적 약자 및 주거취약 청년
소득이 낮은 순
특히 2024년부터 전세사기 피해 청년이 우선 지원 대상에 포함되었으며, 상반기에는 이 조건으로 22명이 지원받았습니다.
- 선정 절차
서류 심사 및 자격 검증 → 2025년 10월 중 1차 적격자 발표
이의 신청 및 서류 보완 기간 → 약 10일
최종 대상자 선정 → 2025년 12월경 지원금 지급
- 참여 제한 대상
아래 조건에 해당하면 지원에서 제외됩니다.
2022년 1월 1일 이후 다른 기관에서 동일한 성격의 지원(중개보수 및 이사비)을 받은 경우
부모 소유 주택에 임차하는 경우
국민기초생활수급자 중 생계·의료·주거급여 수급자
사업 취지에 부합하지 않는다고 판단되는 경우
- 준비 서류
세부 서류는 ‘청년 몽땅 정보통’ 공지사항에서 확인해야 하지만, 기본적으로 다음이 필요합니다.
- 주민등록등본
- 임대차계약서 사본
- 건강보험료 납부 확인서
- 본인 명의 통장 사본
- 필요 시 전세사기 피해 사실 확인서 등
- 신청 시 유의사항
온라인 접수 후 신청 완료 여부를 반드시 확인해야 함
마감일 직전에는 접속자가 몰려 서버가 지연될 수 있으므로, 가능하면 최소 하루 전에는 접수 완료 권장
지원금은 생애 1회만 지급되므로, 향후 이사 계획이 있다면 신청 시점을 신중히 선택
- 총정리 표

2025년 서울시 청년 부동산 중개보수 및 이사비 지원사업은 주거비 부담 완화에 실질적인 도움이 되는 제도입니다.
특히 이사와 계약 과정에서 발생하는 목돈 지출을 줄일 수 있어,
서울에 거주하거나 전입 예정인 청년이라면 놓치지 말아야 할 혜택입니다.
신청 조건에 부합한다면 반드시 기한 내에 서류를 준비해 접수하시길 권합니다.




